
Affilication of Author(s):中国矿业大学
School Sign:中国矿业大学
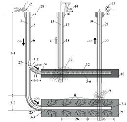
Patent description:本发明公开了一种深部煤层气与干热岩型地热联合开采的方法,属于地质新能源开发技术领域。CO2注入井为单分支水平井,水平井段位于干热岩地热储层中,水平井段两侧地面施工8~10口地热开采直井;CO2注入井水平井段进行分段压裂,且与地热开采直井同步压裂,使CO2注入井与地热开采井间形成人工裂缝通道。CO2注入井直井段侧钻分支水平井,侧钻水平井段位于深部煤储层中,完钻后下筛管完井;侧钻水平井段两侧地面施工8~10口煤层气开采直井,射孔完井后采用压裂方式对深部煤储层改造。CO2注入井中连续注气,利用CO2对CH4的
Type of Patent:Invent
State of Patent:Pending patent
Service Invention or Not:no
First Author:Perry
Attachments:
Associate professor
Supervisor of Doctorate Candidates
Supervisor of Master's Candidates
E-Mail:
School/Department:School of Resources and Geosciences
Administrative Position:Deputy Director of the Department
Education Level:With Certificate of Graduation for Doctorate Study
Business Address:CBM Development Laboratory in Wenchang Campus of China University of Mining and Technology
Gender:Male
Contact Information:cumtzxz@cumt.edu.cn
Degree:Doctor
Status:在岗
Academic Titles:Deputy director of Jiangsu low carbon society
Other Post:Member of Chinese Geological Society
Alma Mater:China University of Mining and Technology
ZipCode :
PostalAddress :
Telephone :
Email :
Honors and Titles:
2025中国知网高被引学者TOP1% 2025-12-31
2024-2025学年度中国矿业大学优秀学术学位硕士学位论文指导教师 2025-07-11
2024中国知网高被引学者TOP5% 2025-01-03
2023-2024学年度中国矿业大学优秀专业学位硕士学位论文指导教师 2024-07-11
中国自动化学会技术发明二等奖 2023-11-01
第十三届中国石油工程设计大赛方案设计类(采油气工程单项组)全国三等奖指导教师 2023-05-11
领跑者5000中国精品科技期刊顶尖学术论文 2022-12-29
2021年度中国地质学会地质类工程专业优秀本科毕业设计指导教师 2022-08-25
贵州省科技进步二等奖 2020-07-01
煤炭工业协会科技进步二等奖 2013-03-06
贵州省科技进步三等奖 2007-11-07